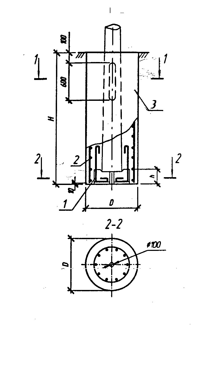
Ф 19

Чертеж изделия:
Характеристики изделия:
ПараметрЗначение
Высота Н3000 мм
Высота h250 мм
Диаметр D1400 мм
Вес10550 кг
СерияБ3.507.1-3.04
Норма погрузки на машину (20тн)1 шт
Вагонная норма погрузки-

Фундамент Ф 19 изготавливается из тяжелого бетона и предназначен для установки стоек СКЦ согласно нормам серии Б3.507.1-3.04.