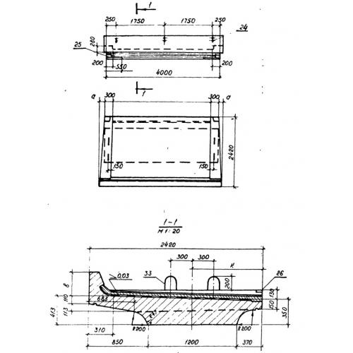
БП 40

Чертеж изделия:
Характеристики изделия:
ПараметрЗначение
длина4000 мм
ширина2420 мм
высота763 мм
вес8800 кг
Серия3.501.1-146

БП 40 Балки с пониженной строительной высотой по  Серии  3.501.1-146.