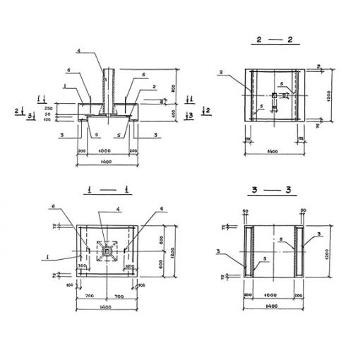
ПЖД 1

Чертеж изделия:
Характеристики изделия:
ПараметрЗначение
длина1400 мм
ширина1400 мм
высота1200 мм
масса1425 кг
нормативный документСерия 3.407.9-180

ПЖД 1 Подножники Серия 3.407.9-180.