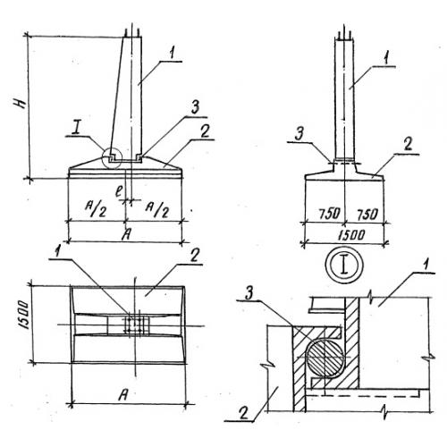
Ф 1.5-2.2 Фундамент составной
Характеристики изделия:
| Параметр | Значение |
|---|---|
| длина | 2200 мм |
| ширина | 1500 мм |
| высота | 2700 мм |
| масса | 2400 кг |
| нормативный документ | Серия 3.407.1-144 |
Цена:
Рассчитать стоимостьФ 1.5-2.2 Фундаменты под стальные опоры по Серии 3.407.1-144.
