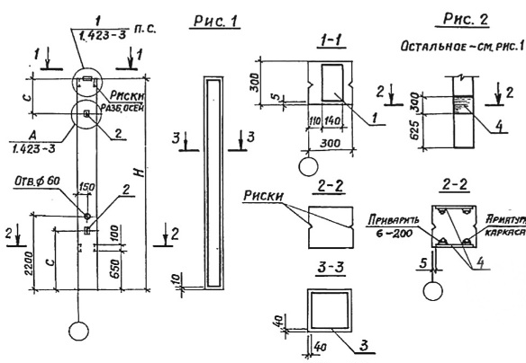
К 48-1а

Чертеж изделия:
Характеристики изделия:
ПараметрЗначение
Длина5600 мм
Ширина300 мм
Высота300 мм
Масса1300 кг
Нормативный документСерия 3.019.1-1

К 48-1а   Колонна по Серии 3.019.1-1.