СН 9-30

Чертеж изделия:
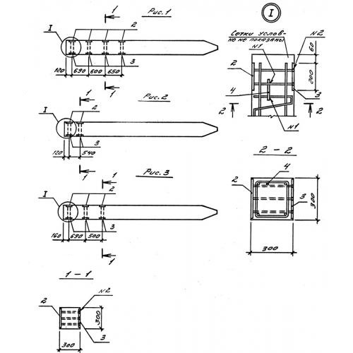
Характеристики изделия:
ПараметрЗначение
длина9000 мм
ширина300 мм
высота300 мм
масса2050 кг
нормативный документСерия 3.016.1-9

СН 9-30  Сваи-колонны с напрягаемой арматурой Серия 3.016.1-9.