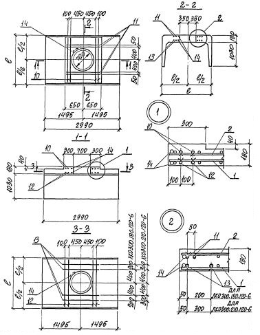
ЛКО 300.210.120 лотки

Чертеж изделия:
Характеристики изделия:
ПараметрЗначение
длина2990 мм
ширина2080 мм
высота1180 мм
масса4197 кг
нормативный документСерия 3.006.1-8

ЛКО 300.210.120  Лотки каналов с отверстием Серия 3.006.1-8.