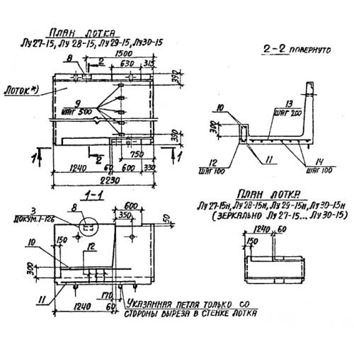
Лу 29/2 лотки угловые

Чертеж изделия:
Характеристики изделия:
ПараметрЗначение
длина2230 мм
ширина2780 мм
высота1360 мм
масса5330 кг
нормативный документСерия 3.006.1-2/87

Лу 29/2  Лотки теплотрасс угловые Серия 3.006.1-2/87.