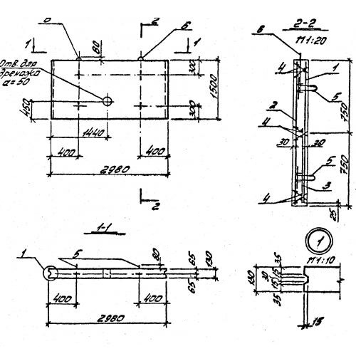
ПЛ 1 лицевые плиты
Характеристики изделия:
| Параметр | Значение |
|---|---|
| длина | 2980 мм |
| ширина | 130 мм |
| высота | 1500 мм |
| масса | 1500 кг |
| нормативный документ | Серия 3.002.1-1 |
Цена:
Рассчитать стоимостьПЛ 1 Плиты лицевые Серия 3.002.1-1.
| Параметр | Значение |
|---|---|
| длина | 2980 мм |
| ширина | 130 мм |
| высота | 1500 мм |
| масса | 1500 кг |
| нормативный документ | Серия 3.002.1-1 |
ПЛ 1 Плиты лицевые Серия 3.002.1-1.
