ПК 30.15

Чертеж изделия:
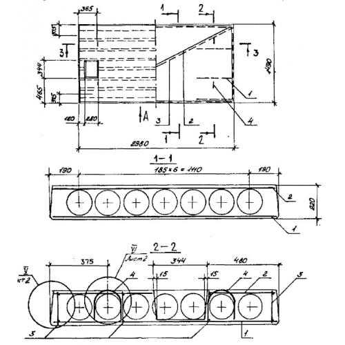
Характеристики изделия:
ПараметрЗначение
длина2980 мм
ширина1490 мм
высота220 мм
вес1380 кг
серия1.141.1-30

ПК 30.15 Плиты перекрытия с пустотами по серии 1.141.1-30.