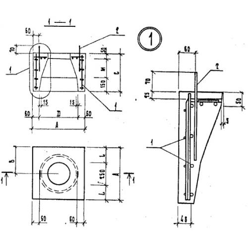
ОС

Чертеж изделия:
Характеристики изделия:
ПараметрЗначение
длина600 мм
ширина600 мм
высота400 мм
вес260 кг
серия1.111.1-4

ОС Оголовки свай типа "Колокол" по серии 1.111.1-4.