2КБО 42.42

Чертеж изделия:
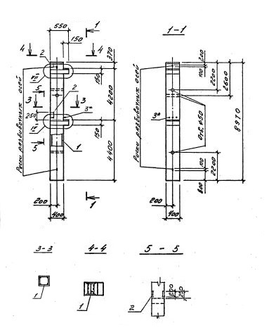
Характеристики изделия:
ПараметрЗначение
длина8970 мм
ширина400 мм
высота550 мм
масса3630 кг
нормативный документСерия 1.020.1-4

2КБО 42.42     Колонны  бесстыковые одноконсольные (Серия 1.020.1-4).

Маркировка включает высоту этажей (дм), диаметры угловых и промежуточных стержней арматуры (мм), марку бетона:

2КБО 42.42-3.20.00

2КБО 42.42-3.25.00

2КБО 42.42-3.32.00

2КБО 42.42-5.35.00