С 8-72-7К5

Чертеж изделия:
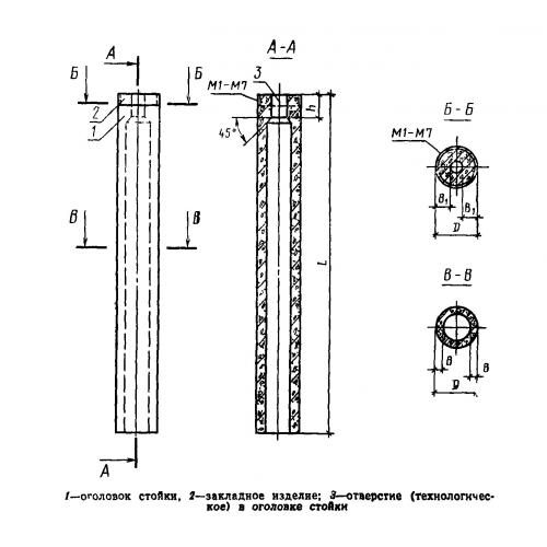
Характеристики изделия:
ПараметрЗначение
длина7200 мм
ширина800 мм
высота800 мм
масса3400 кг
нормативный документГОСТ 23444-79

С 8-72-7К5  Стойки железобетонные центрифугированные кольцевого сечения для производственных зданий и инженерных сооружений ГОСТ 23444-79.