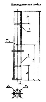
СЦ 26.3

Чертеж изделия:
Характеристики изделия:
ПараметрЗначение
длина26400 мм
ширина560 мм
высота560 мм
масса6192 кг
нормативный документГОСТ 22687.0-85

СЦ 26.3  Стойки цилиндрические ГОСТ 22687.0-85.