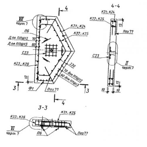
1ППШ 12-30
Характеристики изделия:
| Параметр | Значение |
|---|---|
| длина | 2010 мм |
| ширина | 1155 мм |
| высота | 180 мм |
| масса | 780 кг |
| нормативный документ | ГОСТ 21924.1(2)-84 |
Цена:
Рассчитать стоимостьППШ 12 Плиты дорожные шестиугольные осевые поперечные ГОСТ 21924.1(2)-84.
| Параметр | Значение |
|---|---|
| длина | 2010 мм |
| ширина | 1155 мм |
| высота | 180 мм |
| масса | 780 кг |
| нормативный документ | ГОСТ 21924.1(2)-84 |
ППШ 12 Плиты дорожные шестиугольные осевые поперечные ГОСТ 21924.1(2)-84.
