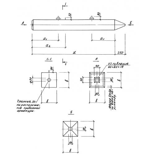
СЦ 8-30

Чертеж изделия:
Характеристики изделия:
ПараметрЗначение
длина8000 мм
ширина300 мм
высота300 мм
масса1830 кг
нормативный документГОСТ 19804.4-78

СЦ 8-30 Сваи квадратного сечения ГОСТ 19804.4-78.